-
①. 跨系统的异步通信: 所有需要异步交互的地方都可以使用消息队列.
-
②. 多个应用之间的解耦: 由于消息队列是平台无关和语言无关的,而且语义上也不再是函数调用,因此适合作为多个应用之间的松耦合的接口.
-
③. 应用内的同步变异步: 比如订单处理,就可以由前端应用将订单信息放到队列,后端应用从队列里依次获得消息处理,高峰时的大量订单可以积压在队列里慢慢处理掉.
-
④. 消息驱动的架构(EDA): 系统分解为消息队列,消息制造者和消息消费者,一个处理流程可以根据需要拆成多个阶段,阶段之间用队列连接起来,前一个阶段处理的结果放入队列,后一个阶段从队列中获取消息继续处理.
-
⑤. 跨局域网甚至跨城市的通讯: 比如北京机房与广州机房的应用程序的通信.
-
生产者: 消息的创建者,负责创建和推送数据到消息服务器;
-
消费者: 消息的接收方,用于处理数据和确认消息;
-
代理: 就是 RabbitMQ 本身,用于扮演“快递”的角色,本身不生产消息,只是扮演“快递”的角色.
-
ConnectionFactory(连接管理器): 应用程序与Rabbit之间建立连接的管理器,程序代码中使用.
-
Channel(信道): 消息推送使用的通道.
-
Exchange(交换器): 用于接受、分配消息.
-
Queue(队列): 用于存储生产者的消息.
-
RoutingKey(路由键): 用于把生产者的消息分配到交换器上.
-
BindingKey(绑定键): 用于把交换器的消息绑定到队列上.
vhost 可以理解为虚拟 broker,即 mini-RabbitMQ server.其内部均含有独立的 queue、exchange 和 binding 等.但最最重要的是,其拥有独立的权限系统,可以做到 vhost 范围的用户控制.当然,从 RabbitMQ 的全局角度,vhost 可以作为不同权限隔离的手段(一个典型的例子就是不同的应用可以跑在不同的 vhost 中).
5. rabbitmq 的消息是怎么发送的?首先客户端必须连接到 RabbitMQ 服务器才能发布和消费消息,客户端和 rabbit server 之间会创建一个 tcp 连接,一旦 tcp 打开并通过了认证(认证就是你发送给 rabbit 服务器的用户名和密码),你的客户端和 RabbitMQ 就创建了一条 amqp 信道(channel),信道是创建在“真实” tcp 上的虚拟连接,amqp 命令都是通过信道发送出去的,每个信道都会有一个唯一的 id,不论是发布消息,订阅队列都是通过这个信道完成的.
6. rabbitmq 怎么保证消息的稳定性?-
消息事务;
-
消息确认机制.
-
消息持久化;
-
ACK确认机制;
-
设置集群镜像模式;
-
消息补偿机制.
-
声明队列必须设置持久化 durable 设置为 true.
-
消息推送投递模式必须设置持久化,deliveryMode 设置为 2(持久);
-
消息已经到达持久化交换器;
-
消息已经到达持久化队列.
以上四个条件都满足才能保证消息持久化成功。
9. rabbitmq 持久化有什么缺点?持久化的缺地就是降低了服务器的吞吐量,因为使用的是磁盘而非内存存储,从而降低了吞吐量,可尽量使用 ssd 硬盘来缓解吞吐量的问题.
10. rabbitmq 有几种广播类型?-
fanout: 所有bind到此exchange的queue都可以接收消息(纯广播,绑定到RabbitMQ的接受者都能收到消息);
-
direct: 通过routingKey和exchange决定的那个唯一的queue可以接收消息;
-
topic: 所有符合routingKey(此时可以是一个表达式)的routingKey所bind的queue可以接收消息;
-
headers:
通过消息过期后进入死信交换器,再由交换器转发到延迟消费队列,实现延迟功能;
使用 RabbitMQ-delayed-message-exchange 插件实现延迟功能.
-
高可用: 某个服务器出现问题,整个 RabbitMQ 还可以继续使用;
-
高容量: 集群可以承载更多的消息量.
-
磁盘节点: 消息会存储到磁盘.
-
内存节点: 消息都存储在内存中,重启服务器消息丢失,性能高于磁盘类型.
-
各节点之间使用“--link”连接,此属性不能忽略;
-
各节点使用的 erlang cookie 值必须相同,此值相当于“秘钥”的功能,用于各节点的认证.
-
整个集群中必须包含一个磁盘节点.
不是,原因有以下两个:
-
存储空间的考虑: 如果每个节点都拥有所有队列的完全拷贝,这样新增节点不但没有新增存储空间,反而增加了更多的冗余数据;
-
性能的考虑: 如果每条消息都需要完整拷贝到每一个集群节点,那新增节点并没有提升处理消息的能力,最多是保持和单节点相同的性能甚至是更糟.
如果唯一磁盘的磁盘节点崩溃了,则不能进行以下操作:
-
不能创建队列;
-
不能创建交换器;
-
不能创建绑定;
-
不能添加用户;
-
不能更改权限;
-
不能添加和删除集群节点;
-
唯一磁盘节点崩溃了,集群是可以保持运行的,但你不能更改任何东西.
RabbitMQ 对集群的停止的顺序是有要求的,应该先关闭内存节点,最后再关闭磁盘节点.如果顺序恰好相反的话,可能会造成消息的丢失.
18. RabbitMQ 上的一个 queue 中存放的 message 是否有数量限制?可以认为是无限制,因为限制取决于机器的内存,但是消息过多会导致处理效率的下降.
19. 客户端连接到 cluster 中的任意 node 上是否都能正常工作?是的.客户端感觉不到有何不同.
20. 向不存在的 exchange 发 publish 消息会发生什么?向不存在的 queue 执行 consume 动作会发生什么?都会收到 Channel.Close 信令告之不存在(内含原因 404 NOT_FOUND).
21. routing_key 和 binding_key 的最大长度是多少?255 字节.
22. RabbitMQ 允许发送的 message 最大可达多大?根据 AMQP 协议规定,消息体的大小由 64-bit 的值来指定,所以你就可以知道到底能发多大的数据了.
23. “dead letter”queue 死信队列 的用途?当消息被 RabbitMQ server 投递到 consumer 后,但 consumer 却通过 Basic.Reject 进行了拒绝时(同时设置 requeue=false),那么该消息会被放入“dead letter”queue 中.该 queue 可用于排查 message 被 reject 或 undeliver 的原因.
24. 为什么使用消息队列其实就是问问你消息队列都有哪些使用场景,然后你项目里具体是什么场景,说说你在这个场景里用消息队列是什么?
面试官问你这个问题,期望的一个回答是说,你们公司有个什么业务场景,这个业务场景有个什么技术挑战,如果不用 MQ 可能会很麻烦,但是你现在用了 MQ 之后带给了你很多的好处.
说一下消息队列常见的使用场景,比较核心的有 3 个: 解耦、异步、削峰.
25. 常见mq队列及区别常见的mq队列有ActiveMQ、RabbitMQ、RocketMQ、Kafka,区别可见图:


-
1️⃣.生产者和mq队列之前传输要使用确认机制,生产者发送消息给mq丢列后,mq要进行接口回调告诉生产者这个数据我已经收到了.如果发送失败生产者要有重试机制进行重新发送.
-
2️⃣.mq队列要进行数据的持久化,保证mq挂掉后数据不会丢失.或者保持mq队列的高可用性,防止mq宕机造成数据丢失.
-
3️⃣.消费者和mq队列之间也要加入确认机制,待消费者处理完具体的业务后,注意是处理完业务逻辑后,再回调mq,告诉mq我已经处理完了.
保证幂等性的意思就是保证数据不被消费者重复消费,不在在数据库中插入重复的数据,要解决这个问题就要在消费者端入手.
-
1️⃣.进行数据库操作的时候,可以先查下这个数据是否已经存在了,如果存在了进行更新操作,不存在就进行插入操作;
-
2️⃣.写入redis:这个比较简单,直接利用redis的set数据类型就可以保证数据不会重复了;
-
3️⃣.如果不是数据库业务情景的话,如直接根据得到的数据进行发送邮件或者短信.这种情况的话可以加一个redis的set数据类型进行消重处理,或者用数据库做一个发送的日志记录,用1️⃣的方式去处理.
每种mq都有实现高可用性的方式,activeMQ和rabbitMQ是通过主从集群的方式实现高可用性的,但是存在一个致命问题就是,当mq队列爆满的时候,主从架构不能横向扩容,因为每个queue保持的数据都是一样的.
下面主要介绍下分布式架构的kafka.

-
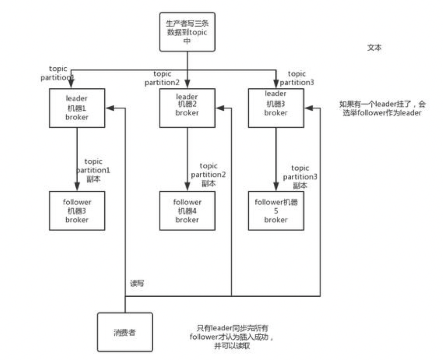
1️⃣. kafka的一个topic的数据分布在分区(partition)中,而每个partition都分布在不同的broker中,这样就保证了同一个topic的数据分布在不同的机器中;
-
2️⃣. kafka每个partition都有一个leader和多个follower,当leader挂了,follower会自动选举出来一个leader,这样就保证了mq的健壮性;
-
3️⃣. 生产者和消费者的读写只能通过leader进行,不能读写follower,同时只有当leader的数据同步给follower之后才认为是写成功了,保证数据不丢失.
可以看到,相比主从架构,分布式架构具有更高的可扩展性,可用横向增加partition进行扩容.
29. 如何保证消息队列的高可用? RabbitMQ 的高可用性RabbitMQ 是比较有代表性的,因为是基于主从(非分布式)做高可用性的,我们就以 RabbitMQ 为例子讲解第一种 MQ 的高可用性怎么实现.
RabbitMQ 有三种模式: 单机模式、普通集群模式、镜像集群模式.
单机模式单机模式,就是 Demo 级别的,一般就是你本地启动了玩玩儿的,没人生产环境用单机模式.
普通集群模式(无高可用性)普通集群模式,意思就是在多台机器上启动多个 RabbitMQ 实例,每个机器启动一个.你创建的 queue,只会放在一个 RabbitMQ 实例上,但是每个实例都同步 queue 的元数据(元数据可以认为是 queue 的一些配置信息,通过元数据,可以找到 queue 所在实例).你消费的时候,实际上如果连接到了另外一个实例,那么那个实例会从 queue 所在实例上拉取数据过来.

这种方式确实很麻烦,也不怎么好,没做到所谓的分布式,就是个普通集群.因为这导致你要么消费者每次随机连接一个实例然后拉取数据,要么固定连接那个 queue 所在实例消费数据,前者有数据拉取的开销,后者导致单实例性能瓶颈.
而且如果那个放 queue 的实例宕机了,会导致接下来其他实例就无法从那个实例拉取,如果你开启了消息持久化,让 RabbitMQ 落地存储消息的话,消息不一定会丢,得等这个实例恢复了,然后才可以继续从这个 queue 拉取数据.
所以这个事儿就比较尴尬了,这就没有什么所谓的高可用性,这方案主要是提高吞吐量的,就是说让集群中多个节点来服务某个 queue 的读写操作.
镜像集群模式(高可用性)这种模式,才是所谓的 RabbitMQ 的高可用模式.跟普通集群模式不一样的是,在镜像集群模式下,你创建的 queue,无论元数据还是 queue 里的消息都会存在于多个实例上,就是说,每个 RabbitMQ 节点都有这个 queue 的一个完整镜像,包含 queue 的全部数据的意思.然后每次你写消息到 queue 的时候,都会自动把消息同步到多个实例的 queue 上.

那么如何开启这个镜像集群模式呢?其实很简单,RabbitMQ 有很好的管理控制台,就是在后台新增一个策略,这个策略是镜像集群模式的策略,指定的时候是可以要求数据同步到所有节点的,也可以要求同步到指定数量的节点,再次创建 queue 的时候,应用这个策略,就会自动将数据同步到其他的节点上去了.
这样的话,好处在于,你任何一个机器宕机了,都没事儿,其它机器(节点)还包含了这个 queue 的完整数据,别的 consumer 都可以到其它节点上去消费数据.坏处在于:第一,这个性能开销也太大了,消息需要同步到所有机器上,导致网络带宽压力和消耗很重! 第二,这么玩儿,不是分布式的,就没有扩展性可言了,如果某个 queue 负载很重,你加机器,新增的机器也包含了这个 queue 的所有数据,并没有办法线性扩展你的 queue.你想,如果这个 queue 的数据量很大,大到这个机器上的容量无法容纳了,此时该怎么办呢?
30. 如何保证消息的顺序性? RabbitMQ会错乱的情况分析:RabbitMQ: 一个 queue,多个 consumer.比如,生产者向 RabbitMQ 里发送了三条数据,顺序依次是 data1/data2/data3,压入的是 RabbitMQ 的一个内存队列,有三个消费者分别从 MQ 中消费这三条数据中的一条,结果消费者2先执行完操作,把 data2 存入数据库,然后是 data1/data3,这不明显乱了.

RabbitMQ: 拆分为多个 queue,每个 queue 对应一个 consumer,就是多一些 queue 而已,确实是麻烦点;或者就一个 queue,但是对应一个 consumer,然后这个 consumer 内部用内存队列做排队,然后分发给底层不同的 worker 来处理.

要保持多个消息之间的时间顺序,首先它们要有一个全局的时间顺序.因此,每个消息在被创建时,都将被赋予一个全局唯一的、单调递增的、连续的序列号(SerialNumber,SN),可以通过一个全局计数器来实现这一点,通过比较两个消息的SN,确定其先后顺序.
31. 如何解决消息队列的延时以及过期失效问题?消息队列满了以后该怎么处理?有几百万消息持续积压几小时,说说怎么解决? 问题分析:该问题其实本质针对的都是说,可能是你的消费端出了问题,不消费了;或者消费的极其极其慢.接着就坑爹了,可能你的消息队列集群的磁盘都快写满了,都没人消费,这个时候怎么办?或者是整个就积压了几个小时,你这个时候怎么办?或者是你积压的时间太长了,导致比如 rabbitmq 设置了消息过期时间后就没了怎么办?
mq 中的消息过期失效的解决办法假设你用的是 RabbitMQ,RabbtiMQ 是可以设置过期时间的,也就是 TTL.如果消息在 queue 中积压超过一定的时间就会被 RabbitMQ 给清理掉,这个数据就没了.
这个情况下,就不是说要增加 consumer 消费积压的消息,因为实际上没啥积压,而是丢了大量的消息.我们可以采取一个方案,就是批量重导,就是大量积压的时候,我们当时就直接丢弃数据了,然后等过了高峰期以后,比如大家一起喝咖啡熬夜到晚上12点以后,用户都睡觉了,这个时候我们就开始写程序,将丢失的那批数据,写个临时程序,一点一点的查出来,然后重新灌入 mq 里面去,把白天丢的数据给他补回来,也只能是这样了.
假设 1 万个订单积压在 mq 里面,没有处理,其中 1000 个订单都丢了,你只能手动写程序把那 1000 个订单给查出来,手动发到 mq 里去再补一次.
mq 都快写满了的解决办法如果是消息积压在 mq 里,那么如果你很长时间都没处理掉,此时导致 mq 都快写满了,咋办?这个还有别的办法吗?没有,谁让你第一个方案执行的太慢了,你临时写程序,接入数据来消费,消费一个丢弃一个,都不要了,快速消费掉所有的消息,然后走第二个方案,到了晚上再补数据吧.
大量消息在 mq 里积压了几个小时了还没解决的解决办法几千万条数据在 MQ 里积压了七八个小时,从下午 4 点多,积压到了晚上 11 点多.这个时候要不然就是修复 consumer 的问题,让它恢复消费速度,然后傻傻的等待几个小时消费完毕,这个肯定不能在面试的时候说吧.
一个消费者一秒是 1000 条,一秒 3 个消费者是 3000 条,一分钟就是 18 万条.所以如果你积压了几百万到上千万的数据,即使消费者恢复了,也需要大概 1 小时的时间才能恢复过来.
一般这个时候,只能临时紧急扩容了,具体操作步骤和思路如下:
1️⃣. 先修复 consumer 的问题,确保其恢复消费速度,然后将现有 cnosumer 都停掉;
2️⃣. 再新建一个 topic,partition 是原来的 10 倍,临时建立好原先 10 倍的 queue 数量;
3️⃣. 然后写一个临时的分发数据的 consumer 程序,这个程序部署上去消费积压的数据,消费之后不做耗时的处理,直接均匀轮询写入临时建立好的 10 倍数量的 queue;
4️⃣. 接着临时征用 10 倍的机器来部署 consumer,每一批 consumer 消费一个临时 queue 的数据.这种做法相当于是临时将 queue 资源和 consumer 资源扩大 10 倍,以正常的 10 倍速度来消费数据;
5️⃣. 等快速消费完积压数据之后,得恢复原先部署的架构,重新用原先的 consumer 机器来消费消息.
32. 如果让你写一个消息队列,该如何进行架构设计?说一下你的思路.其实聊到这个问题,一般面试官要考察两块:
-
你有没有对某一个消息队列做过较为深入的原理的了解,或者从整体了解把握住一个消息队列的架构原理;
-
看看你的设计能力,给你一个常见的系统,就是消息队列系统,看看你能不能从全局把握一下整体架构设计,给出一些关键点出来.
说实话,问类似问题的时候,大部分人基本都会懵,因为平时从来没有思考过类似的问题,大多数人就是平时埋头用,从来不去思考背后的一些东西.类似的问题,比如,如果让你来设计一个 Spring 框架你会怎么做? 如果让你来设计一个 Dubbo 框架你会怎么做? 如果让你来设计一个 MyBatis 框架你会怎么做?
答案:其实回答这类问题,说白了,不求你看过那技术的源码,起码你要大概知道那个技术的基本原理、核心组成部分、基本架构构成,然后参照一些开源的技术把一个系统设计出来的思路说一下就好.
比如说这个消息队列系统,我们从以下几个角度来考虑一下:
-
1️⃣. 首先这个 mq 得支持可伸缩性吧,就是需要的时候快速扩容,就可以增加吞吐量和容量,那怎么搞?设计个分布式的系统呗,参照一下 kafka 的设计理念,broker -> topic -> partition,每个 partition 放一个机器,就存一部分数据.如果现在资源不够了,简单啊,给 topic 增加 partition,然后做数据迁移,增加机器,不就可以存放更多数据,提供更高的吞吐量了?
-
2️⃣. 其次你得考虑一下这个 mq 的数据要不要持久化到磁盘吧?那肯定要了,持久化到磁盘才能保证进程挂了数据也不会丢失,那持久化到磁盘的时候怎么持久化啊?顺序写,这样就没有磁盘随机读写的寻址开销,磁盘顺序读写的性能是很高的,这就是 kafka 的思路.
-
3️⃣. 其次你考虑一下你的 mq 的可用性,这个事儿,具体参考之前可用性那个环节讲解的 kafka 的高可用保障机制.多副本 -> leader & follower -> broker 挂了重新选举 leader 即可对外服务.
-
4️⃣. 能不能支持数据 0 丢失啊?可以的,参考我们之前说的那个 kafka 数据零丢失方案.
mq 肯定是很复杂的,面试官问你这个问题,其实是个开放题,他就是看看你有没有从架构角度整体构思和设计的思维以及能力.确实这个问题可以刷掉一大批人,因为大部分人平时不思考这些东西.
